Лодочные моторы

Материал из FishingWiki
(перенаправлено с «Лодочный мотор»)
Перейти к навигации Перейти к поиску

Подвесные лодочные моторы представляют собой совершенно обособленную от судна винто-моторную установку, распола­гаемую за кормой судна. Они предназначаются в основном для установки в качестве главных двигателей на малых судах: ялах, прогулочных шлюпках, туристских судах, скутерах, а более мощные моторы (в 50—60 л. с.) — на различных про­мысловых судах, баржах, баркасах, а также на плавучих технических средствах: ремонтных плотах, кранах и транс­портерах. Как независимая винто-моторная установка подвесной мотор может без разборки свободно переноситься с одного судна на другое, лишь бы на последнем имелся транец, к которому и крепится мотор. Удобная переноска мотора, простота и быстрота крепле­ния на место, простота ухода делают такой мотор доступным и пригодным как для коллективов, так и для индивидуально­го пользования.

История

Лодочные моторы

В море патентов, относящихся к концу прошлого и началу нынешнего веков, существует множество предложений по конструкции компактного механического привода, который должен был заменить древнее весло и притом мог быть применен на любой лодке.

В октябре 1866 г. американец Томас Рис получил патент № 59074 на изобретенный им "винтовой пропеллер" - навешиваемое на транец лодки съемное устройство с гребным винтом, приводимым во вращение вручную через маховик с рукояткой, подобно приводу швейной машинки. Пятнадцатью годами позже француз Густав Труве продемонстрировал на Всемирной выставке в Париже первый подвесной электромотор. С появлением легких бензиновых двигателей предложения по использованию их на малых судах, в том числе и в универсальном, навешиваемом на транец варианте, посыпались одно за другим. Так что сейчас довольно трудно, а, может быть, и невозможно определить, кто же именно по существу является изобретателем лодочного подвесного мотора.

Достоверно одно: первые промышленные образцы подвесных бензиновых моторов были созданы в 1909 г. Олом Эвинрудом - американцем норвежского происхождения. С тех пор началась цепная реакция широкой моторизации лодочного флота, сослужившая немалую службу в приобщении к технике многих народностей во всех частях света, где решающую роль играли и играют рыболовство, морские промыслы или перевозки по лесным рекам.

За прошедшие 90 лет было выпущено более 20 миллионов подвесных моторов сотен различных моделей. А о том, как все это начиналось, рассказывает известный английский летописец водно-моторного спорта Кевин М. Десмонд.

Серийный выпуск подвесных моторов в СССР начался только в годы первых пятилеток. В середине тридцатых годов на ряде наших заводов стало налаживаться производ­ство подвесных моторов.

После Великой Отечественной войны производство под­весных моторов в нашей стране получает дальнейшее разви­тие. Советскими конструкторами разработаны новые марки подвесных моторов (например, ЛММ-6, ЛММ-6А, ЛМР-6), выпускаемые отечественными заводами.

Особенности устройства

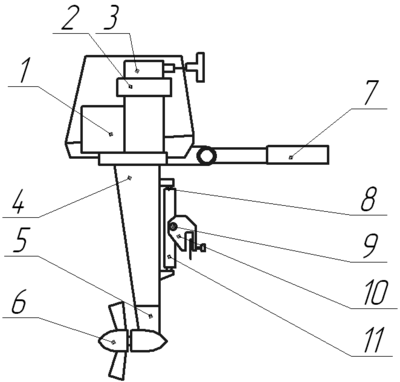
Схема устройства лодочного мотора

В настоящее время подвесные лодочные моторы преимущественно строятся по схеме, предложенной Олом Эвинрудом в 1906 г. Эта схема имеет вертикальную компоновку узлов.

Двигатель внутреннего сгорания 1 закреплён в верхней части промежуточного корпуса (дейдвуда) 4. Коленчатый вал двигателя расположен вертикально. На верхнем конце коленчатого вала закреплены магнето 2 и стартер 3.

Внутри промежуточного корпуса 4 проходит вертикальный вал, связывающий коленчатый вал двигателя и редуктор. Также внутри промежуточного корпуса расположены трубки подачи воды для охлаждения двигателя, тяги управления редуктором. Через промежуточный корпус осуществляется выхлоп отработавших газов в воду.

Снизу к промежуточному корпусу крепится угловой конический одноступенчатый понижающий редуктор 5, обеспечивающий передачу вращения на гребной винт 6. На моторах мощностью до 5 л. с. редуктор может не иметь муфты сцепления и механизма реверса. На моторах мощностью от 5 до 12 л. с. наличие в редукторе муфты сцепления обязательно, но механизм реверса может отсутствовать. На моторах мощностью свыше 12 л.с. обязательно наличие муфты сцепления и механизма реверса. Обычно муфта сцепления и механизм реверса объединяются в один узел, называемый реверс-муфтой.

Гребной винт обычно соединяется с выходным (гребным) валом редуктора через элемент с ограниченной прочностью — предохранитель. Предохранитель обеспечивает экстренное разобщение винта и других деталей мотора в случае удара о подводное препятствие, что защищает мотор от поломки. В качестве предохранителя может выступать срезной штифт, срезная шпонка (после срабатывания эти элементы подлежат замене новыми), кулачковая предохранительная муфта многоразового действия или покрытая плотной резиной втулка (rubber hub) специальной конструкции.

Крепление мотора к транцу лодки осуществляется посредством подвески. В зависимости от количества степеней свободы различают следующие подвески:

  • Жёсткая — мотор закрепляется на транце лодки неподвижно;
  • Поворотная — мотор может поворачиваться вокруг вертикальной оси;
  • Откидкая — мотор может «откидываться» — поворачиваться вокруг горизонтальной оси;
  • Поворотно-откидная — сочетающая в себе свойства поворотной и откидной подвески.

Поворотно-откидная подвеска получила наибольшее распространение. Она позволяет управлять направлением движения лодки за счёт поворота мотора вокруг вертикальной оси и откидывать мотор при ударе о подводное препятствие, а также на стоянке и в случае преодоления мелководья на веслах.

Подвеска современных моторов содержит упругие элементы для снижения уровня вибраций, передаваемых на корпус лодки.

Поворотно-откидная подвеска мотора состоит из вертикального шарнира 8, обеспечивающего поворот вокруг вертикальной оси при управлении курсом лодки, горизонтального шарнира 9 — обеспечивающего откидывание мотора, струбцин 10, обеспечивающих быстросъёмное крепление мотора к транцу лодки, упругих элементов 11. Моторы большой мощности крепятся к транцу болтами.

Управление подвесным лодочным мотором малой и средней мощности осуществляется с помощью румпеля 7. На конце румпеля обычно расположена поворотная рукоятка управления дроссельной заслонкой мотора, а в торце румпеля — кнопка «Стоп». Таким образом, управления лодочным мотором можно осуществлять одной рукой. В целях безопасности на многих моторах кнопка «Стоп» действует «на размыкание цепи». Чтобы двигатель работал, под неё вставляется «чека́», соединённая тросиком с телом рулевого. Если рулевой внезапно упадёт в воду — двигатель остановится.

Моторы средней и большой мощность управляются дистанционно — с поста управления лодкой. Дистанционное управление может осуществляться как с помощью тросов (штуртрос), так и с помощью гидравлических или электрических сервомеханизмов.

Топливный бак обычно размещается в лодке и соединяется с мотором шлангом. Моторы малой мощности (2,5 — 5 л.с.) имеют встроенный топливный бак.

Для предотвращения коррозии, особенно при работе в морской воде, на подводную часть мотора устанавливаются аноды катодной защиты. Для компенсации реактивного момента, возникающего при работе гребного винта, устанавливается регулируемый триммер, как правило, совмещённый с анодом катодной защиты.

Современные подвесные лодочные моторы могут иметь ряд узлов, обеспечивающих комфортные условия для экипажа и пассажиров лодки:

  • электрический генератор, обеспечивающий оборудование лодки электроэнергией;
  • электростартер, обеспечивающий запуск мотора;
  • гидравлический насос, обеспечивающий работу сервомеханизмов;
  • компрессор, обеспечивающий быстрое наполнение сжатым воздухом баллонов надувной лодки;
  • осушительный насос, обеспечивающий откачку из лодки попавшей туда воды;
  • бойлер, обеспечивающий нагрев воды для отопления кокпита лодки;
  • приёмник давления, обеспечивающий работу указателя скорости (спидометра);
  • контрольно-измерительные приборы, информирующие рулевого о режиме работы мотора и аварийных ситуациях.

Ряд производителей выпускает подвесные моторы с водомётным движителем, или допускается замена редуктора с гребным винтом на водомётную приставку.

По длине дейдвуда (соответственно высота транца) подвесные моторы выпускаются:

  • «короткая нога» — 381 мм, как правило, обозначается S (standart), моторы для обычных моторных лодок;
  • «длинная нога» — 508 мм, как правило, обозначается L (long), так называемые «морские», для катеров и яхт.

Подвесные моторы очень большой мощности (200—300 л. с. и более) выпускаются с ещё более длинным дейдвудом (предназначены для катеров):

  • UL или X — длина дейдвуда 635 мм;
  • XX — длина дейдвуда 762 мм.

Расстояние между днищем судна и антикавитационной плитой лодочного мотора составляет (согласно инструкции) около 20—25 мм, как правило, окончательно подбирается экспериментально путём изменения высоты транца. Антикавитационная плита — металлическая пластина, расположенная на дейдвуде горизонтально над гребным винтом, предназначена для того, чтобы винт не захватывал воздух с поверхности, и, следовательно, не происходила кавитация.

Типы лодочных моторов

Все подвесные лодочные моторы бывают двух типов: двухтактные и четырехтактные модели. Различаясь по своим характеристикам, каждый из них обладает преимуществами, и сравнительными недостатками. Нельзя сказать, что один лучше, а другой хуже. Выбор того или иного типа зависит от области применения мотора. Вот общие характерные отличия 2-х тактных и 4-х тактных двигателей.

2-х тактные лодочные моторы:

  • рабочий цикл двигателя состоит из двух тактов;
  • двигатель характеризуется простым устройством;
  • более компактный, с небольшом весом; быстро набирает обороты;
  • менее требователен к качеству бензина;
  • удобен при частой перевозке (перевозится в любом положении);
  • более дешевый.

4-х тактные лодочные моторы:

  • рабочий цикл состоит из четырех тактов;
  • более высокий ресурс двигателя;
  • экологически чистый;
  • на 40% экономичней по расходу бензина;
  • более тихий;
  • стабильно работает на холостых и низких оборотах.

Лодочный мотор и законодательство РФ

Для управления моторами с мощностью до 5 л.с не требуется никаких документов. Таким образом, выбирая лодку ПВХ и 5-сильный мотор, вы можете беспрепятственно передвигаться по водоемам без риска быть оштрафованным.

Если вы хотите управлять мотором с мощностью от 6 л.с, необходимо дополнительно иметь удостоверение на право вождения. Получить его можно в государственном или частном учебном заведении, которое имеет соответствующую аккредитацию. Для этого необходимо посетить курс занятий, и сдать экзамен.

Моторы мощностью от 10 л.с, помимо прав, еще подлежат регистрации в ГИМС.

Производители лодочных моторов

Видео. Лодочные моторы

Интересное

См. также

Источники